Tail Lamps for 1990 Toyota Corolla
Vehicle
1990 Toyota Corolla
Change Vehicle
- Bumper Assembly - Rear
- Center Pillar
- Console
- Cowl
- Door
- Door & Components
- Doors
- Fender & Components
- Floor Pan
- Front Bumper
- Front Door
- Fuel Door
- Gate Trim
- Glass - Front Door
- Glass - Rear Door
- Glass & Hardware
- Glass & Hardware - Back
- Grille
- Hood & Components
- Inner Components
- Inner Panel
- Instrument Panel
- Interior Trim
- Labels
- Lid & Components
- Lift Gate
- Liftgate
- Passenger Compartment Trim
- Quarter Panel & Components
- Rear Body
- Reveal Moldings
- Roof & Components
- Sunroof
- Tracks & Components
- Trunk
- Trunk Trim
- Alternator
- Alternator/Generator & Related Components
- Antenna & Radio
- Backup Lamps
- Battery
- Battery & Related Components
- Components On Apron
- Components On Dash Panel
- Components On Radiator Support
- Cruise Control System
- Distributor
- Door
- Flasher Units, Fuses, & Circuit Breakers
- Flashers
- Front Door
- Gauges
- Glass, Windows & Related Components
- Headlamp Components
- High Mount Lamps
- Ignition Lock
- Ignition System
- Instruments & Gauges
- License Lamps
- Park Lamps
- Powertrain Control
- Seat Belt
- Senders
- Side Marker Lamps
- Signal Lamps
- Starter
- Starter & Related Components
- Switches
- Switches, Solenoids & Actuators
- Tail Lamps
- Voltage Regulator
- Window Defroster
- Wipers
- A/C Accumulator/Receiver Drier
- A/C Clutch & Compressor
- A/C Condenser & Evaporator
- A/C Flow Restrictors
- Condenser Fan
- Condenser, Compressor & Lines
- Heater
- Heater Components
- Hoses & Pipes
- Motors, Core, Case & Related Components
- Switches & Sensors
- Switches, Solenoids & Actuators
- Temperature Controls & Related Components
- Bumper Assembly - Rear
- Center Pillar
- Console
- Cowl
- Door
- Door & Components
- Doors
- Fender & Components
- Floor Pan
- Front Bumper
- Front Door
- Fuel Door
- Gate Trim
- Glass - Front Door
- Glass - Rear Door
- Glass & Hardware
- Glass & Hardware - Back
- Grille
- Hood & Components
- Inner Components
- Inner Panel
- Instrument Panel
- Interior Trim
- Labels
- Lid & Components
- Lift Gate
- Liftgate
- Passenger Compartment Trim
- Quarter Panel & Components
- Rear Body
- Reveal Moldings
- Roof & Components
- Sunroof
- Tracks & Components
- Trunk
- Trunk Trim
- Alternator
- Alternator/Generator & Related Components
- Antenna & Radio
- Backup Lamps
- Battery
- Battery & Related Components
- Components On Apron
- Components On Dash Panel
- Components On Radiator Support
- Cruise Control System
- Distributor
- Door
- Flasher Units, Fuses, & Circuit Breakers
- Flashers
- Front Door
- Gauges
- Glass, Windows & Related Components
- Headlamp Components
- High Mount Lamps
- Ignition Lock
- Ignition System
- Instruments & Gauges
- License Lamps
- Park Lamps
- Powertrain Control
- Seat Belt
- Senders
- Side Marker Lamps
- Signal Lamps
- Starter
- Starter & Related Components
- Switches
- Switches, Solenoids & Actuators
- Tail Lamps
- Voltage Regulator
- Window Defroster
- Wipers
- A/C Accumulator/Receiver Drier
- A/C Clutch & Compressor
- A/C Condenser & Evaporator
- A/C Flow Restrictors
- Condenser Fan
- Condenser, Compressor & Lines
- Heater
- Heater Components
- Hoses & Pipes
- Motors, Core, Case & Related Components
- Switches & Sensors
- Switches, Solenoids & Actuators
- Temperature Controls & Related Components
Browse Categories
Select category
- Bumper Assembly - Rear
- Center Pillar
- Console
- Cowl
- Door
- Door & Components
- Doors
- Fender & Components
- Floor Pan
- Front Bumper
- Front Door
- Fuel Door
- Gate Trim
- Glass - Front Door
- Glass - Rear Door
- Glass & Hardware
- Glass & Hardware - Back
- Grille
- Hood & Components
- Inner Components
- Inner Panel
- Instrument Panel
- Interior Trim
- Labels
- Lid & Components
- Lift Gate
- Liftgate
- Passenger Compartment Trim
- Quarter Panel & Components
- Rear Body
- Reveal Moldings
- Roof & Components
- Sunroof
- Tracks & Components
- Trunk
- Trunk Trim
- Alternator
- Alternator/Generator & Related Components
- Antenna & Radio
- Backup Lamps
- Battery
- Battery & Related Components
- Components On Apron
- Components On Dash Panel
- Components On Radiator Support
- Cruise Control System
- Distributor
- Door
- Flasher Units, Fuses, & Circuit Breakers
- Flashers
- Front Door
- Gauges
- Glass, Windows & Related Components
- Headlamp Components
- High Mount Lamps
- Ignition Lock
- Ignition System
- Instruments & Gauges
- License Lamps
- Park Lamps
- Powertrain Control
- Seat Belt
- Senders
- Side Marker Lamps
- Signal Lamps
- Starter
- Starter & Related Components
- Switches
- Switches, Solenoids & Actuators
- Tail Lamps
- Voltage Regulator
- Window Defroster
- Wipers
- A/C Accumulator/Receiver Drier
- A/C Clutch & Compressor
- A/C Condenser & Evaporator
- A/C Flow Restrictors
- Condenser Fan
- Condenser, Compressor & Lines
- Heater
- Heater Components
- Hoses & Pipes
- Motors, Core, Case & Related Components
- Switches & Sensors
- Switches, Solenoids & Actuators
- Temperature Controls & Related Components
- Bumper Assembly - Rear
- Center Pillar
- Console
- Cowl
- Door
- Door & Components
- Doors
- Fender & Components
- Floor Pan
- Front Bumper
- Front Door
- Fuel Door
- Gate Trim
- Glass - Front Door
- Glass - Rear Door
- Glass & Hardware
- Glass & Hardware - Back
- Grille
- Hood & Components
- Inner Components
- Inner Panel
- Instrument Panel
- Interior Trim
- Labels
- Lid & Components
- Lift Gate
- Liftgate
- Passenger Compartment Trim
- Quarter Panel & Components
- Rear Body
- Reveal Moldings
- Roof & Components
- Sunroof
- Tracks & Components
- Trunk
- Trunk Trim
- Alternator
- Alternator/Generator & Related Components
- Antenna & Radio
- Backup Lamps
- Battery
- Battery & Related Components
- Components On Apron
- Components On Dash Panel
- Components On Radiator Support
- Cruise Control System
- Distributor
- Door
- Flasher Units, Fuses, & Circuit Breakers
- Flashers
- Front Door
- Gauges
- Glass, Windows & Related Components
- Headlamp Components
- High Mount Lamps
- Ignition Lock
- Ignition System
- Instruments & Gauges
- License Lamps
- Park Lamps
- Powertrain Control
- Seat Belt
- Senders
- Side Marker Lamps
- Signal Lamps
- Starter
- Starter & Related Components
- Switches
- Switches, Solenoids & Actuators
- Tail Lamps
- Voltage Regulator
- Window Defroster
- Wipers
- A/C Accumulator/Receiver Drier
- A/C Clutch & Compressor
- A/C Condenser & Evaporator
- A/C Flow Restrictors
- Condenser Fan
- Condenser, Compressor & Lines
- Heater
- Heater Components
- Hoses & Pipes
- Motors, Core, Case & Related Components
- Switches & Sensors
- Switches, Solenoids & Actuators
- Temperature Controls & Related Components
No.
Part # / Description / Price
Price
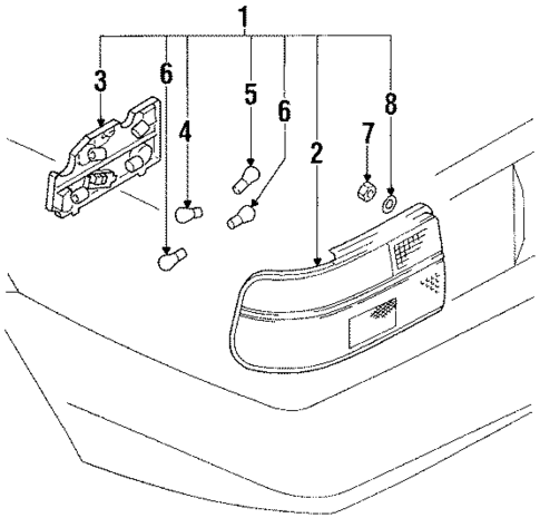
1
1
2
Lens
Toyota
Toyota Positions: Right
Notes: PARTS: This lens fits vehicles built in the U.S.A. with taillamps made in the U.S.A..
Description: Sedan, le, us built.
2
Lens
Toyota
Toyota Positions: Left
Notes: PARTS: This lens fits vehicles built in the U.S.A. with taillamps made in the U.S.A..
Description: Sedan, le, us built.
2
1988-1990 Toyota Corolla - Lens
Toyota
Toyota Positions: Right
Notes: PARTS: This lens fits vehicles built in Japan or vehicles built in the U.S.A. with tail lamps made in Japan.
Description: Sedan, le, japan built.
MSRP $169.92
$115.44
MSRP $169.92
$115.44
2
Lens
Toyota
Toyota Positions: Left
Notes: PARTS: This lens fits vehicles built in Japan or vehicles built in the U.S.A. with tail lamps made in Japan.
Description: Sedan, le, japan built.